Referenzen

Umbau Drehmomentenstütze Unterhaltsfahrzeuge XTmas 811 – 819 (BLS)

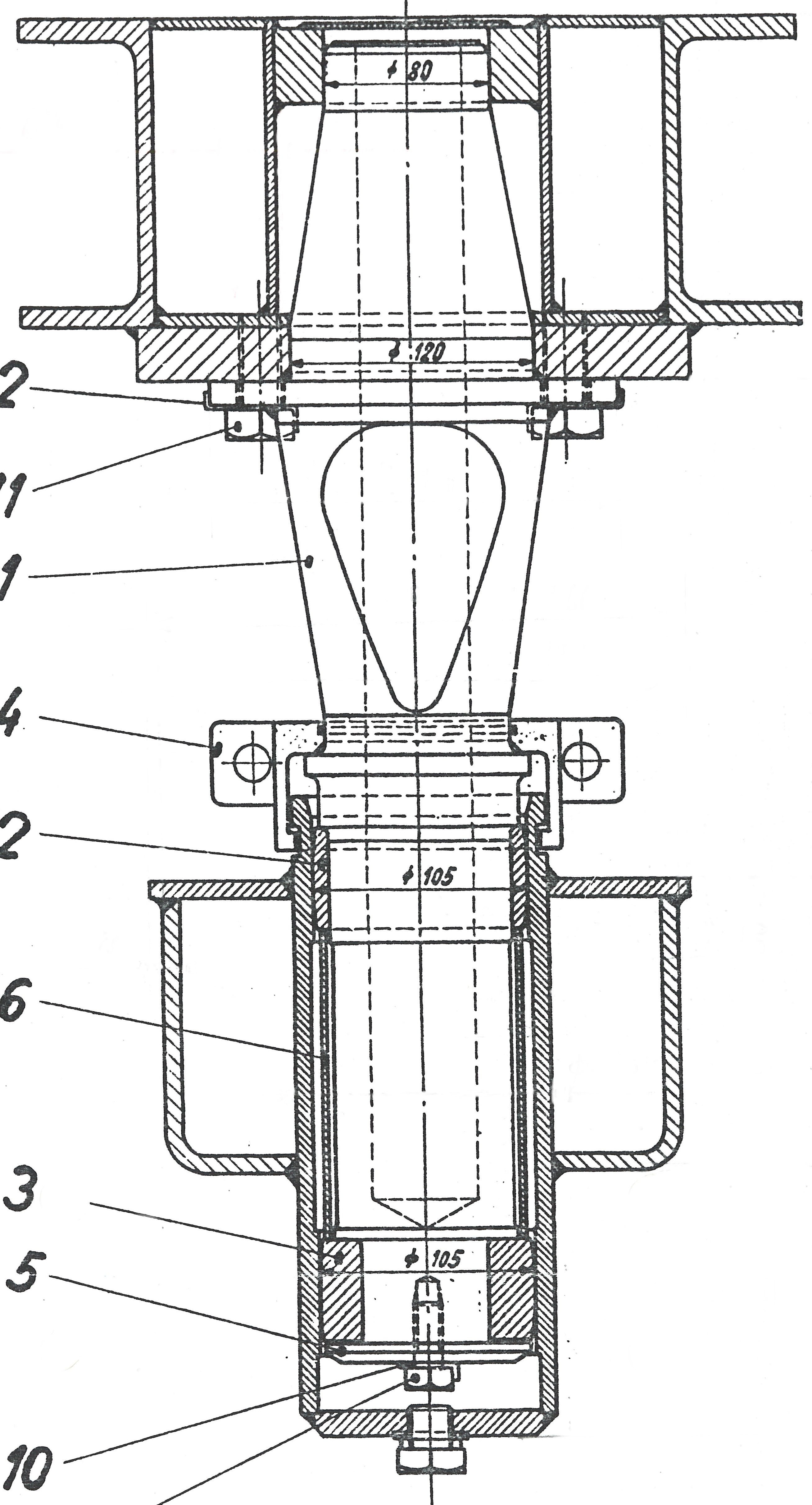
Bei der BLS werden selbstfahrende Fahrzeuge für den Unterhalt XTmas eingesetzt. Der relative einfache Umbau eines Y-Güterwagen-Drehgestells zum Einbau eines Getriebes mit Hydraulikmotor gestattet das selbständige Verfahren der Wagen im Arbeitsbereich. Nach einer gewissen Einsatzdauer wurde ein erhöhter Instandhaltungsaufwand bei den Getriebeabstützungen erforderlich, darum sollte eine geänderte, beanspruchungsgerechte Ausführung gefunden werden.

Leistungen LRS Engineering

  • Erarbeiten von Konzepten für eine neue Drehmomentenstütze
  • Konstruktion der Änderungen und Erstellen der Detail- und Zusammenstellungszeichnungen
  • Führen von Festigkeitsnachweisen für die umgebauten bzw. neu konstruierten Teile
  • Unterstützung während des Umbaus des Prototypen

Umbau der Drehzapfenanordnung bei den RhB-Personenwagen EW I A 1223 - 1243

Durch Veränderung der Drehzapfenanordnung bei den Personen-Einheitswagen I A sollte eine Verbesserung des Wagenlaufes sowie eine Verringerung des erforderlichen Instandhaltungsaufwandes an der Federtraverse erreicht werden.

Leistungen LRS Engineering

  • Erstellen eines Konzeptes zum Umbau der Drehzapfenanordnung, Auswahl eines Lagers
  • Erstellen von: Detail- und Zusammenstellungszeichnungen, Schweisszeichnungen nach den Vorgaben der DIN 6700-x
  • Ergänzungen auf den bestehenden Zusammenstellungszeichnungen
  • Dimensionierung der Gummi-Metallbüchse
  • Führen von Festigkeitsnachweisen für die umgebauten bzw. neu konstruierten Teile, Festigkeitsnachweis nach EN 13749 und DV 952
  • Schraubennachweis
  • Gegenüberstellung bestehende zu neuer Variante des Lagerbuchseneinbaus in die Traverse
  • Messtechnischer Nachweis der Verbesserung des Wagenlaufes (Ride-Index)